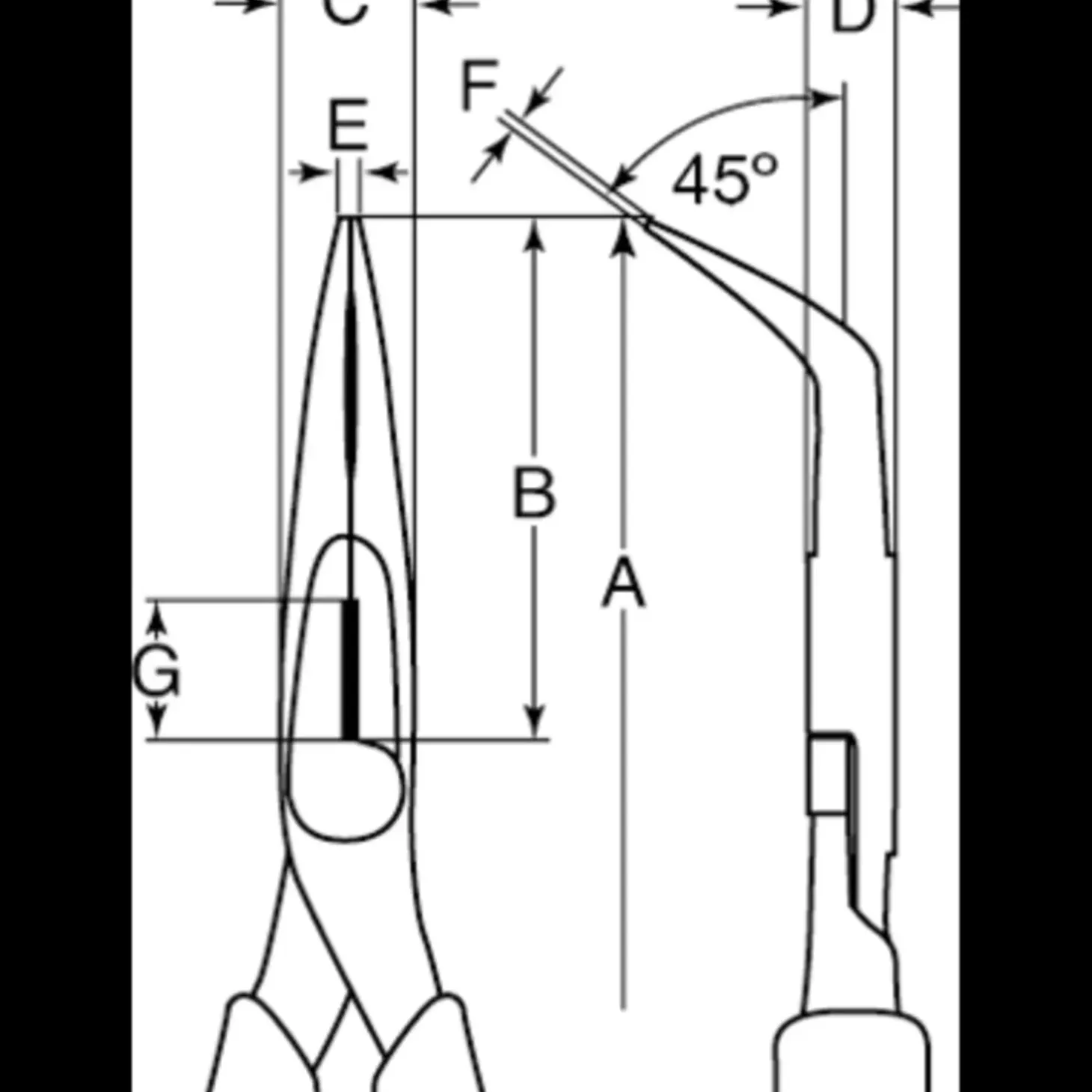
Spidstang i Bahco’s ERGO program
- To-komponent ERGO™ håndtag: blød termoplastisk overflade på hård polypropylen giver et godt greb
- Udviklet i henhold til Bahco’s ERGO™ program
- Klippekapacitet: 2,5 mm til 3 mm kobber, 1,8 mm jern, og 1,4 mm til 1,6 mm ioniseret jern
- Forsynet med patenteret returfjeder med on/off-funktion
- Halvrund form og riflede kæber til at gribe fat om flade og runde materialer, og den er velegnet til snævre steder
- Bøjede kæber med hærdede skær til at klippe blød og hård tråd
- Højtlegeret stål
- Fosfateret udførelse, rustbeskyttet
- Standarder: ISO 5745
- IP = industripakning









Reviews
There are no reviews yet.